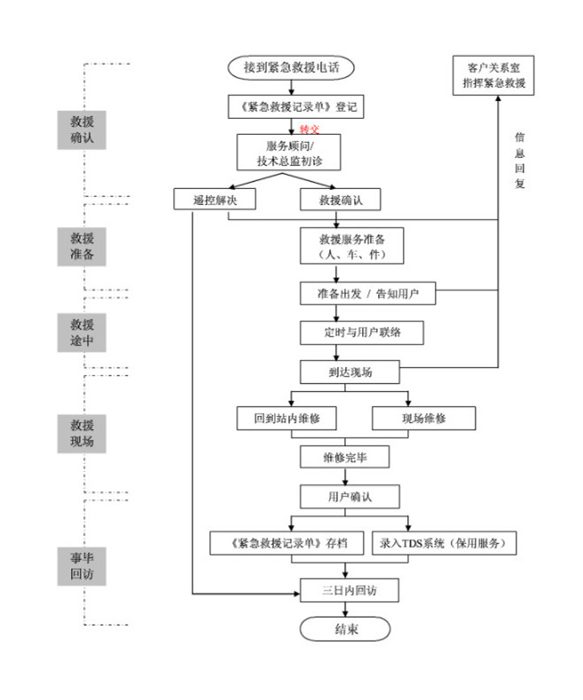
车辆救援服务业务流程图