操作指导
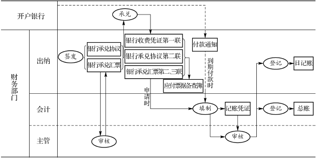
1.银行承兑汇票结算申请承兑及付款程序(如图所示):

2.使用银行承兑汇票结算,双方必须签订交易合同,并在合同中注明采用银行承兑汇票进行结算。作为销货方,如果对方的商业信用不佳,或者对对方的信用状况不甚了解或信心不足,使用银行承兑汇票较为稳妥。
3.银行承兑汇票的承兑银行,必须具备下列条件:
(1)与出票人具有真实的委托付款关系;
(2)具有支付汇票金额的可靠资金;
(3)内部管理完善,经其法人授权的银行审定。
4.银行承兑汇票的承兑银行,应按票面金额向承兑申请人收取万分之五的手续费,不足10元的按10元计。承兑申请人在银行承兑汇票到期未付款的,按规定计收逾期罚息。
5.有些银行的银行承兑汇票采用一式四联,第一联是卡片,由承兑银行支付票款时作付出传票;第二联由收款人开户行向承兑银行收取票款时作联行往来账付出传票;第三联为解讫通知联,由收款人开户银行收取票款时随报单寄给承兑行,承兑行作付出传票附件;第四联为存根联,由签发单位编制有关凭证。付款单位按照交易合同规定,向供货方购货,将经过银行承兑后的汇票第二联、第三联寄交收款单位,以便收款单位到期收款或背书转让。付款单位寄交汇票后,编制转账凭证。
6.出纳员在寄交汇票时,应同时登记“应付票据备查簿”,逐项登记发出票据的种类(银行承兑汇票)、交易合同号、票据编号、签发日期、到期日期、收款单位及汇票金额等内容。
7.按照银行承兑协议的规定,承兑申请人即付款人应于汇票到期前将票款足额地交存其开户银行(即承兑银行),以便承兑银行于汇票到期日将款项划拨给收款单位或贴现银行。付款单位财务部门应经常检查专类保管的“银行承兑协议”和“应付票据备查簿”,及时将应付票款足额交存银行。



